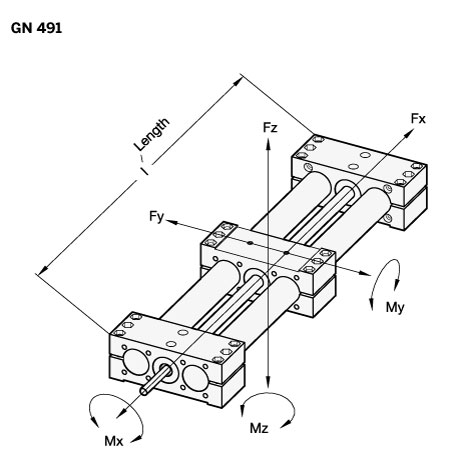
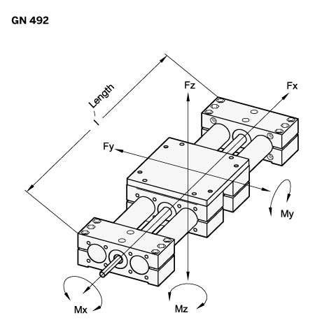
Double tube linear actuators



The specified forces Fy and Fz cause a flexure of the guide tube of approx. 0.5 mm.
DESCRIPTION
The slider is moved via a bearing-type trapezoidal thread spindle and a guide nut. The slider is guided through two parallel chrome-plated tubes, resulting in a high load capacity and allowing high bending moments to be compensated by the linear actuator.
For type GN 492, a second slider and an adapter plate extend the options for applications.
These double tube linear actuators have been designed for manual operation (handwheel). With the appropriate lubrication, they can also absorb rotary spindle speeds of as much as 250 rpm.
The positioning accuracy is 0.2 mm / 300 mm travel, the maximum reverse play is 0.1 mm.
To measure the adjustment or the positioning, digital position indicators DD52R / DD51 / DD52R-E / DD51-E may be attached. The required extension of the shaft journal is enabled by installation kits GN 491.1.
Further information see on the standard pages of GN 491 / GN 492.
DESCRIPTION
Double tube linear actuators GN 491 / GN 492 with right or left hand thread, single shaft end or two shaft ends.

DESCRIPTION
Double tube linear actuators GN 493 / GN 494 with right and left hand thread, single shaft end or two shaft ends, both sliders move symmetrically.
On request:
Double tube linear actuators GN 493 / GN 494

DESCRIPTION
Double tube linear actuators GN 495 / GN 496 with two separate spindles, each with right or left hand thread, both sliders move independently of each other.
On request:
Double tube linear actuators GN 495 / GN 496.

-
Generals
-
1. Plastic materials
- 1.1 Mechanical strength
- 1.2 Thermal resistance
- 1.3 Strength and surface hardness
- 1.4 Resistance to chemical agents
- 1.5 Resistance to atmospheric agents and uv rays
- 1.6 Flame resistance
- 1.7 Electrical properties
- 1.8 Surface finish and cleanability
- 1.9 Compliance with international standards
- 1.10 Competence of Elesa+Ganter technical department
- 2. Metal materials
- 3. Other materials
- 4. Machining tolerances
- 5. Fixed handles
- 6. Assembly measures
- 7. Special executions
- 8. Colours
- 9. Test values
-
10. Technical tables
- 10.1 Conversion tables
- 10.2 DIN 79 Square holes and shafts
- 10.3 DIN 6885 Keyways
- 10.4 GN 110 and GN 110.1 Transversal holes
- 10.5 DIN 13 ISO Metric threads
- 10.6 DIN 228 Cylindrical GAS-BSP threads
- 10.7 DIN EN ISO 898-1 | DIN EN 20898-2 Strenght values
- 10.8 DIN ISO 286 ISO-Fundamental tolerances
- 10.9 IP Protection Classification
- 10.10.1 PFB | PRB Thread locking with jamming action Polyamide patch coating/ Polyamide complete coating
- 10.10.2 MVK Thread locking gluing Micro encapsulation precote 80 (red)
- 10.11 Stainless Steel characteristics
- 10.12 Surface treatments
- 10.13 Carbon steel, zinc alloys, aluminium, brass characteristics
- 10.14.1 Duroplast, elastomer, technopolymer and rubber characteristics
- 10.14.2 Duroplast, elastomer, technopolymer and rubber characteristics
- 10.14.3 Duroplast, elastomer, technopolymer and rubber characteristics
- 10.15 Load ratings U-Handles
- 10.16 Load ratings metal hinges
- 10.17 Strength of indexing plungers
- 10.18 Assembly sets GN 965 and GN 968
- 11. Vibration-damping elements
-
1. Plastic materials
- Hygienic design
- Operating Elements
- Ručice za upravljanje
- Elementi za podešavanje, obrtni tasteri
- Rotary controls
- Elementi za zaključavanje
- Joints
- Transmission elements
- Levelling elements
- Hinges
- Bravice
- Toggle, power and hook clamps
- Hidraulični elementi
- Tube clamp connectors
- Castors and wheels
- Magnets
- Transportna traka komponenata
- Linear slides
- Amortizer oscilacija
- Vacuum components
- Opruge od elastomera